Trailing Arm, Servicing, FWD Vehicles
Special tools and workshop equipment required
Pressing out the bonded rubber bushing
- Remove trailing arm with mounting bracket. Refer to → Chapter "Trailing Arm with Mounting Bracket, Removing and Installing, FWD Vehicles".
- Clamp the trailing arm in the vise so that the mounting bracket -1- contacts the vise -arrow-.
- Remove the bolt -2-.

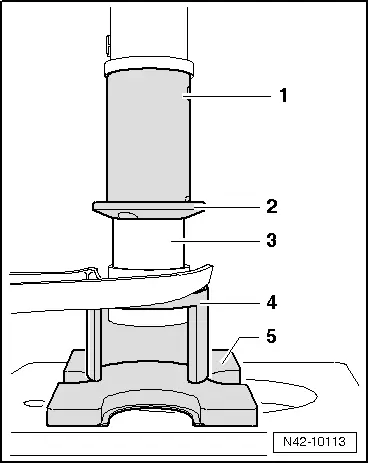
- Install tools as shown in the illustration.
1 - Hydraulic Press - Bushing Assembly Tool Kit-Pipe -T10230/3-
2 - Hydraulic Press - Bushing Assembly Tool Kit-Press Piece -T10230/10-
3 - Front Subframe Mount Kit -3372-
4 - Press Plate -VW401-
5 - Press Plate -VW402-
- Press out the bonded rubber mount.

Installing the bonded rubber bushing
- Place the trailing arm on a flat surface.
- Position the trailing arm so that the dimension -A- 113 mm is reached.
- In this position, apply a vertical line (marking on the upper and lower edge of the bushing) that is centered with the trailing arm bushing -arrows-.

- Position the bonded rubber bushing on the trailing arm so that the marked line is between the raised sections -1-.
 Note
  
Note
Always make sure that the bonded rubber bushing is in the correct installation position to the trailing arm bushing.

- Install tools as shown in the illustration.
1 - Hydraulic Press - Bushing Assembly Tool Kit - Tube -T10230/5-
2 - Hydraulic Press - Bushing Assembly Tool Kit-Thrust Plate -T10230/12-, the chamfer must face the bonded rubber bushing
3 - Bonded rubber bushing
4 - Front Subframe Mount Kit -3372-
5 - Press Plate -VW402-

- Press in bonded rubber bushing flush.
- Install the mounting bracket on trailing arm.
- Install trailing arm with mounting bracket. Refer to → Chapter "Trailing Arm with Mounting Bracket, Removing and Installing, FWD Vehicles".
Trailing Arm, Servicing, AWD Vehicles
Special tools and workshop equipment required
Pressing out the bonded rubber bushing

- Remove trailing arm with mounting bracket. Refer to → Chapter "Trailing Arm with Mounting Bracket, Removing and Installing, FWD Vehicles".
- Clamp the trailing arm into vise so that the mounting bracket -1- makes contact at vise -arrow-.

- Remove the bolt -2-.
- Install tools as shown in the illustration.
1 - Hydraulic Press - Bushing Assembly Tool Kit-Pipe -T10230/3-
2 - Hydraulic Press - Bushing Assembly Tool Kit-Press Piece -T10230/10-
3 - Front Subframe Mount Kit -3372-
4 - Press Plate -VW401-
5 - Press Plate -VW402-
- Press out the bonded rubber mount.

Installing the bonded rubber bushing
- Place the trailing arm on a flat surface.
- Position the trailing arm so that the dimension -A- 113 mm is reached.
- In this position, apply a vertical line (marking on the upper and lower edge of the bushing) that is centered with the trailing arm bushing -arrows-.

- Position the bonded rubber bushing on the trailing arm so that the marked line is between the raised sections -1-.
 Note
  
Note
Always make sure that the bonded rubber bushing is in the correct installation position to the trailing arm bushing.

- Install tools as shown in the illustration.
1 - Hydraulic Press - Bushing Assembly Tool Kit - Tube -T10230/5-
2 - Hydraulic Press - Bushing Assembly Tool Kit-Thrust Plate -T10230/12-, the chamfer must face the bonded rubber bushing
3 - Bonded rubber bushing
4 - Front Subframe Mount Kit -3372-
5 - Press Plate -VW402-

- Press bonded rubber bushing in flush.
- Install the mounting bracket on trailing arm.
- Install trailing arm with mounting bracket. Refer to → Chapter "Trailing Arm with Mounting Bracket, Removing and Installing, FWD Vehicles".
 Overview - Drive Axle
 Overview - Drive Axle
	 Drive Axle, Removing and Installing
 Drive Axle, Removing and Installing
	 Drive Axle, Disassembling and Assembling
 Drive Axle, Disassembling and Assembling
	 Adjusting the display
 Adjusting the display
	 Privacy notice
 Privacy notice